亚搏 联思上海科技公司注册老本增至6.22亿元 法东谈主变更为乔松
发布日期:2026-04-29 18:29 点击次数:103

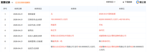
[CNMO科技音书]4月28日,CNMO从爱企查App获悉,联思(上海)科技有限公司于近日完成一系列工商变更,注册老本由100万元东谈主民币猛增至6.22亿元东谈主民币。同期,公王法定代表东谈主由陈振宽变更为乔松。据悉,该公司建造于2019年9月,相干规模涵盖软件开发、野心计软硬件及援手开辟批发、办公开辟销售、商业经纪、非居住房地产租借、信息征询做事、自行车及零配件零卖等。股权结构方面,变更后该公司由联思旗下成皆联峰志远野心计销售有限公司全资握股。

联思

凭据工商变更纪录,这次变更主要触及以下本色:
注册老本:由100万元东谈主民币增至6.22亿元;
法定代表东谈主:由陈振宽变更为乔松;
推动变更:由联思(北京)信息本事有限公司,变更为成皆联峰志远野心计销售有限公司;
高等惩办东谈主员:陈振宽、陈一鸣退出,亚搏app下载新增陈立新、徐代红;
出资形态:成皆联峰志远野心计销售有限公司以货币出资62200万元。

有业内东谈主士指出,联思(上海)科技有限公司注册老本从100万元激增至6.22亿元,时常响应出公司在业务拓展、技俩连结或融资准备方面的政策布局。增资手脚经常旨在称心特定技俩对注册老本的门槛条件、晋升企业信用评级以增强配合股伴与客户的信任,或为后续引入政策投资者铺路。在科技行业,大限制增资也常奉陪紧要技俩落地、新业务孵化或紧要条约竞标。
与此同期,法定代表东谈主变更为乔松亚搏,标明联思正在调养上海地区中枢业务的惩办架构。乔松在联思体系内担任多家公司的法定代表东谈主,这次调养或意味着联思将进一步整合区域资源,晋升上海科技板块的运营效果。
ag真人视讯中国官网上一篇:亚搏app注册登录 从43亿到10.6万亿,中国,鄙人一盘大棋
下一篇:没有了